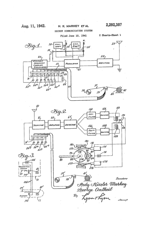
Imaginez un peu Angelina Jolie qui inventerait le vaccin contre le covid par exemple ? Eh bien c'est un peu ce qui est arrivé à Hedy Lamarr. Cette comédienne américaine, d'origine autrichienne, a été l'idôle glamour du Hollywood des années 30-40... mais elle a aussi inventé le système qui a donné naissance au wifi, entre autres.